真是奇怪,娱乐圈的明星夫妻就算再恩爱,也难免会传出几次“离婚风波”。就拿张杰和谢娜来说吧,他们结婚这么多年了,还是免不了有关于离婚的传闻。

刘诗诗和吴奇隆这对恩爱夫妻也常常被传出婚变的消息,尤其是去年底那次闹得可真不小。

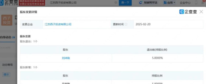
幸好刘诗诗用实际行动回应了婚变的传闻,可就在两个月后,她被曝出将股份转让给吴奇隆,这又一次引起了网友们的热议。不过,除了这个消息,她还有个令人振奋的消息传出!

刘诗诗这位古装女神在最近这段时间,演艺事业上可是不断发光发热,真是让人刮目相看!之前,刘诗诗参演的《一念关山》可谓人气爆棚,她在剧里的打戏可真是又飒又利落,给观众留下了深刻的印象。

最近,刘诗诗主演的新剧《掌心》正在火热播出,她在宣传活动中的表现真是让人惊艳,赢得了不少观众的关注。从路透社的照片来看,刘诗诗的颜值依然很在线,岁月似乎对她毫无影响。

在《掌心》里,有一段活埋的戏,真让观众对刘诗诗的敬业精神和演技有了更深的体会。

拍这段戏的时候,刘诗诗瞬间就入戏了,花絮一播出,许多观众都对她的演技赞不绝口。不过说到刘诗诗的电视剧,大家脑海中最难忘的还是她和吴奇隆合作的《步步惊心》。

这俩人也是因为《步步惊心》这部剧相识的,他们在剧里的表现真是感人至深,让观众们泪水都要流出来啦。不仅这样,二人因戏情愫暗生,没过多久,吴奇隆和刘诗诗在微博上互动频繁,两年后就正式公开了关系。

后来,在他们的婚礼上,吴奇隆动情地表白,现场的每个人都被他的真诚打动,纷纷落泪。

婚后,他们的生活依旧幸福依旧,甜蜜得很,而且他们的小家庭也迎来了新成员,生活变得更加多姿多彩。在日常生活里,他们的甜蜜互动真是让人羡慕得不行。

在刘诗诗婚前,她和胡歌的合作简直是一段让人难以忘怀的美好回忆。

他们多次联手合作,创造了无数经典的荧幕角色,因此成为了许多观众心中的“荧幕情侣”。

胡歌和刘诗诗的各种亲密互动,让观众们都忍不住要追着嗑他们的CP。

尽管他们在电视剧里的形象深深扎根于观众心中,大家也都希望他们能在现实中凑成一对,不过最终他们各自还是走上了不同的人生路。

刘诗诗和吴奇隆手牵手走入婚姻了,胡歌也在演艺事业上不断奋斗、成长,并且选择了一位圈外人组成家庭,生了孩子。说完刘诗诗,咱们也来瞅瞅吴奇隆,最近他可是引起了不少关注。

吴奇隆,这位在娱乐圈里有着传奇故事的明星,竟然也去拍网剧了!不过他并不是亲自出镜,而是担任了这部网剧的监制。

最近,剧组举行了开机仪式,吴奇隆也来了,还是那样帅气。而且呢,吴奇隆在和刘诗诗步入婚姻殿堂之前,也谈过好几段恋爱。

说到吴奇隆的感情经历,最引人注目的还得是他和马雅舒的那段恋情,毕竟他们曾经走进过婚姻的殿堂。尽管吴奇隆和马雅舒结婚后为了各自的事业忙得不可开交,实际上他们几乎没多少时间能够好好地聚在一起聊聊天。

而且他们结婚的时间比恋爱时间还短,不过当初的爱情真的是甜得不可开交。他们因拍摄《萧十一郎》而相识,吴奇隆在剧中演绎潇洒不羁的萧十一郎,而马雅舒则饰演豪爽大气的风四娘。

吴奇隆和马雅舒虽然不是剧里的恋人,但在戏外多次合作和互动之下,慢慢地产生了感情的火花。随着感情越来越深,两人终于结束了长达5年的恋爱长跑,顺利地登记结婚。

不过,曾经感情深厚的两人最终还是选择了分开,各自找到了属于自己的生活。后来,吴奇隆和刘诗诗步入婚姻,离婚后的马雅舒也开启了新的生活旅程。

她嫁给了外国人罗伯特,罗伯特可是个游戏开发公司的 CEO,身上有美国和意大利的双重血统,长得高大帅气,事业也一帆风顺。

他们的孩子们真是讨人喜欢,混血的颜值简直是太高了,网友们都纷纷为他们打call!除了马雅舒,吴奇隆和蔡少芬的爱情故事当年也是引起了不少人的关注。

当时蔡少芬的妈妈背负着巨额的赌债,这种情况让一大堆人觉得吴奇隆和蔡少芬在一起可不轻松,得承受很大的压力和负担。听说吴奇隆那时候在经济上对蔡少芬帮了不少忙,俩人一起承担了还债的重担。

可惜的是,吴奇隆和蔡少芬这段情最终没能修成正果,俩人还是决定分道扬镳。

对于他们分开的原因,外界有不少猜测,但明眼人都知道,真正的原因只有他们自己心里最明白。分手后的吴奇隆和蔡少芬,都把更多的时间和精力放在了自己的演艺事业上。

不过最近,刘诗诗把股权转让给吴奇隆的事被曝光,瞬间在网上引发了网友们热烈的讨论。

去年年底,网络上爆出刘诗诗和吴奇隆早已离婚的消息,顿时引发了吃瓜群众的热议。不过,刘诗诗通过实际行动回应了这波婚变传闻,她的团队也给平台发了公告,明确表示那些内容并不属实。

最近,有消息称刘诗诗把她手里一家公司5%的股份转让给了她的老公吴奇隆。

不止如此,还有传闻说吴奇隆和刘诗诗之前一起经营的公司已经被注销了。

这一变动一下子就引起了网友们的热议,毕竟刘诗诗和吴奇隆可是娱乐圈的人气夫妻,他们的每个动作都受到瞩目,更别提这股权的变动了。

连专家们也开始关注这事儿,表示这可能是夫妻俩对公司业务进行了一番调整呢。

不过,除了这次的消息,刘诗诗还收获了一个喜讯呢。

今天,电视剧《醉梦》的阵容正式发布,刘诗诗再次出演女主角。

看来她的事业发展得越来越顺利,接连饰演女主角,真是牛啊!近年来,刘诗诗的新剧一部接一部,真是让人期待她在新作中的精彩演出!你觉得他们这次的股权变动咋样呢?有什么看法吗?